国家组织药品集中采购有新消息。
1月25日,湖南省医保局官网发布的《关于报送第七批国家组织药品集中采购品种范围相关采购数据的通知》,并公布了第七批国家药品集采药品名单。根据这份名单,第七批国家药品集采涉及59个品种,208个品规,有“流感神药”之称的奥司他韦、肺癌药物阿法替尼、高血压药物美托洛尔、脑卒中药依达拉奉、局部麻醉及抗心律失常药利多卡因以及奥美拉唑、克林霉素等抗生素大品种均在其中。
湖南省医保局官网发布的《关于报送第七批国家组织药品集中采购品种范围相关采购数据的通知》公布的部分集采药品名单截图
按照湖南省医保局的要求,此次集采将于今天(1月26日)启动医疗机构报量,并于2月16日24:00前提交数据。2月25日17:00前,各省需要完成相关药品采购需求量审核工作。
上述消息让近期业内流传的第七批药品集采名单得以确认。
除了湖南,1月24日和1月25日,宁夏回族自治区、山西省等招采负责部门也曾发布26日启动报量通知,但并未直接公布报量的药品名单。
自2018年“4+7”带量采购以来,国家药品集采已经进行了六批七轮,上一批较为特殊,开展的是针对胰岛素的专项集采。关于第七批集采,此前业内已经有流传消息,目前来看,与上述湖南、山西等省区发布的报量信息一致。
不过,参考过去的国家药品集采,均由国家组织药品联合采购办公室在上海阳光医药采购网发布相关采购文件,明确招采条件、品种名单、竞标规则和开标时间、地点等信息。澎湃新闻记者注意到,目前该官网并未发布相关消息。
也就是说,虽然第七批相关细则仍存在不确定性,但第七批国家药品集采的脚步越来越近已经确定。参考过去集采的规律,国家药品集采通常一年两次,第七批集采也是2022年第一次国家药品集采。值得一提的是,第七批集采并未延续第六批专项集采的形式,而重新回到了化药领域。
第七批集采涉及多款“明星药”
从目前湖南医保局公布的报量名单来看,第七批集采涉及抗生素、肿瘤、糖尿病、神经系统等多个疾病领域,其中包括多款“明星药”,如依达拉奉注射剂型、奥司他韦口服常释剂型。
依达拉奉的原研药是三菱制药,长期被用于治疗急性缺血性脑卒中,国家药监局数据库显示,目前该药仅国产药品就有50个批准文号,涉及齐鲁制药、先声药业(02096)、扬子江药业、陕西健民等多家知名药企。
据米内网数据,依达拉奉2018年全国的总销售额超50亿元。值得一提的是,2019年7月,国家卫生健康委曾发布文件,将依达拉奉纳入第一批国家重点监控合理用药药品目录(化药及生物制品)名单。根据当时的通知文件,对于重点监控品种,各医疗机构要建立重点监控合理用药药品管理制度,加强目录内药品临床应用的全程管理。对用药不合理问题突出的品种,采取排名通报、限期整改、清除出本机构药品供应目录等措施,保证合理用药。
此次第七批集采报量说明中,也特别强调了依达拉奉列入上述名单的事实。
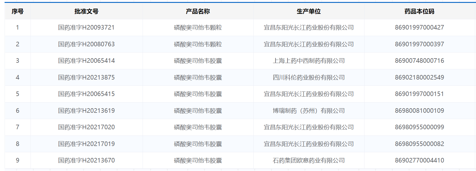
奥司他韦有“流感神药”之称,曾多次被报道“缺货问题”。国家药监局数据库显示,除了罗氏的原研药达菲之外,宜昌东阳光长江药业、上药中西制药、博瑞制药、石药欧意药业、科伦药业等也有相关批文。
国产奥司他韦产品批号
米内网数据显示,2019年在中国公立医疗机构以及中国城市实体药店,奥司他韦合计销售额超65亿元。在新冠疫情的大背景下,冬春季节预防新冠流感叠加,一直备受关注。在此次集采中,针对奥司他韦的报量也特别提到“结合疾病流行发展趋势合理报量”。
前六批集采平均降幅53%
降价是集采的主旋律。
对于患者来说,将大大降低用药负担。据国家医保局此前发布的信息,连续开展6批国家组织药品集中带量采购,中选药品平均降价53%。中国药学会发布的《中国医保药品管理改革进展与成效蓝皮书》则显示,自2018年以来,医保药品在医疗机构药品使用占比逐年上升,主导地位进一步巩固,临床用药合理性得到改善。常用药价格水平明显下降,重大疾病和特殊人群用药保障水平明显提高。创新药进入医保速度加快,周期大幅缩短,患者可及性明显提高。通过集中带量采购和目录准入谈判“组合拳”,显著降低了群众用药负担。
对于企业来说,集采降价让业绩承压。以恒瑞医药(600276)为例,其在年中报就提到,自2018年以来,公司进入国家集中带量采购的仿制药共有28个品种,中选18个品种,中选价平均降幅72.6%,对公司业绩造成较大压力。2020年11月开始执行的第三批集采涉及的6个药品,报告期内销售收入环比下滑57%。
第七批集采降幅如何仍待观察,不过自家产品降价多少、产品能否中标,最终都将影响相应的市场格局。业内普遍认为,随着集采的常态化和制度化,降幅也日益温和。集采的整体规则是“以量换价”,对于参与的企业来说,如何平衡价格和量之间的关系,是始终需要思考的问题。
集采的另一个出发点是腾笼换鸟,鼓励企业进行真正的创新。也就是说,除了集采产品掌握好量价关系,有后续的创新产品支撑业绩,才是药企长足发展的底气。一位医药行业分析师曾公开表示,企业不断有新品种迭代,或者有产品出海扩大市场,就不必谈集采色变。
在投资方面,东莞证券认为,近期市场对医药生物行业政策风险担忧有所增加,叠加第七批国采即将开始,受政策影响大的板块和个股预计依然受到压制。建议关注政策免疫板块。申万宏源认为,短期集采事件频发,建议理性看待集采,关注超跌反弹机会。
责编:徐凯琦
来源:澎湃新闻

湖南日报新媒体



