从“水源头”到“水龙头”,记者实地探访我县城区供水→
来源:新湖南客户端.百姓民生
阅读:1397
2025-09-23 10:29:57
平江融媒9月23日讯(记者 陈振要)自来水安全关系千家万户,从源头到龙头,平江城区供水究竟如何保障水质?近日,记者走进 平江县润恒自来水有限公司 城关水厂 和 城乡供水水质检测中心 , 一探究竟。


记者随工作人员走进制水车间 ,从取水口开始,亲眼见证自来水的“蜕变”之旅。


水质“天然好”是优势,制水“工艺好”是基础,但更依靠“人来护”的实招。陈英姿向记者介绍,该 公司通过“双重防线”严格监测水源水与出厂水 ,依托百余项指标严把饮水安全第一关。


在城关水厂,记者看见该公司水质检测中心工作人员正手拿仪器,对刚出厂的自来水进行每小时一次的感官性状和消毒剂等指标检测,检测结果显示, 各项指标均在合格范围内。





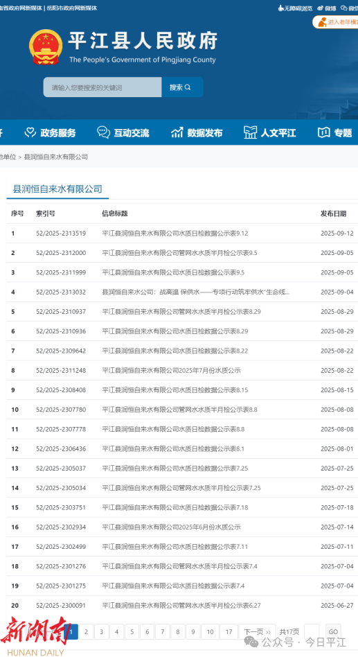
“检测不是‘内部事’,更要让市民看得见、能监督。”李金龙告诉我们,所有水质检测信息均通过湖南省供水水质在线监测系统、平江县政府门户网等平台定期公开, 涵盖水源水、出厂水、管网水的半年检、月检、半月检及日检数据 ,真正实现从“源头”到“龙头”的全过程透明化保障,守护市民用水安全。
责编:邹泓涛
来源:平江县融媒体中心
湖南日报新媒体